
Socket Type Soft Seal Gate Valve
The Socket Type Soft Seal Gate Valve is an isolation valve designed specifically for water and wastewater applications where a reliable, watertight seal and easy pipe connection are crucial. Its unique combination of a socket connection and a resilient (soft) seal makes it particularly suitable for systems using plastic or ductile iron pipework.

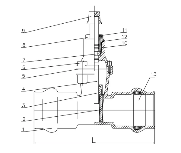
⚙️ Key Features and Design
| Feature | Description | Advantage |
| Connection Type | Socket Joint | Designed to fit snugly over or around the pipe end (common with PVC or DI pipe), providing easy, solvent-welded, or push-on installation without flanges. |
| Sealing Mechanism | Soft Seal | Utilizes rubber or other resilient material (like EPDM) covering the gate (wedge) to create a tight, watertight closure against the body seat. |
| Flow Path | Smooth/Obstruction-Free | The internal surface minimizes irregularities and has an obstruction-free bore, ensuring smooth fluid flow and minimal pressure drop. |
| Corrosion Resistance | Material Choice | Often made from corrosion-resistant materials (e.g., high-impact PVC or coated Ductile Iron) to prevent rusting in water and sewage applications. |
| Operation | Square Cap Design | Features a square cap for robust and secure manual operation, often requiring a key or wrench, particularly for underground installations. |
| Stem Design | Protected Stem | The stem screw mechanism is typically housed inside the valve, preventing contact with the fluid and protecting it from foreign objects and debris. |
💧 Operational Advantages
- Excellent Water Tightness: The soft seal design is highly effective at providing a tight seal, even in low-pressure environments where leak prevention is critical.
- Efficient Installation: The socket connection simplifies the connection process, especially in PVC and certain water distribution systems.
- Durable and Reliable: Known for its dependable performance and ability to ensure long-lasting fluid control with minimal maintenance.
🏭 Common Applications
This valve is predominantly found in utility and civil engineering projects:
- Water Supply and Distribution Systems
- Sewage and Wastewater Treatment Plants
- Drainage Systems
- Various Industrial Fluid Control Applications
Fast Response & Competitive Pricing Start Here
* We are not just providing simple quotes but experts in selection, calculation, and drawing.




